<tt id="wwww8"></tt>
  • <li id="wwww8"></li>
  • <li id="wwww8"></li>
  • <tt id="wwww8"></tt>
    <li id="wwww8"></li>
    <tt id="wwww8"></tt>
  • <tt id="wwww8"></tt>
    <li id="wwww8"><tt id="wwww8"></tt></li>
    技術支持

    發熱電纜國家標準 電地暖技術規程

    前 言
        《地面輻射供暖技術規程》 JGJ142-2004 經建設部2004 年8 月5 日以建設部第257號公告批準、發布。
        為便于廣大設計、施工、科研、學校等單位有關人員在使用本規程時能正確理解和執行條文規定,《地面輻射供暖技術規程》編制組按章、節、條順序編制了本規程的條文說明,供使用者參考。在使用中如發現本條文說明有不妥之處,請將意見函寄中國建筑科學研究院空氣調節研究所標準規范室(地址:北京北三環東路30 號;郵編:100013;電子信箱:kts@cabr.com.cn)。
    總 則
    1.0.2 本規程的宗旨和適用范圍:近十年來,地面輻射供暖方式由于具有舒適、衛生、節能、不影響室內觀感和不占用室內面積與空間等顯著的優點,在三北地區的住宅和公共建筑中,應用得越來越廣泛。
    為了使工程做到技術先進、經濟合理、質量可靠、安全適用,迫切需要對工程設計、材料選擇、施工安裝和檢驗驗收等各個環節進行規范化和嚴格的控制,本規程就是為了適應這個要求而制定的。
    本規程僅適用于以低溫熱水為熱媒(熱水循環流動于加熱管內)和以發熱電纜為加熱元件的地面輻射供暖系統,該系統是通過加熱元件加熱地面,再以輻射和對流的方式向室內供暖。由于目前采用低溫熱水地面輻射供暖方式時,填充層多采用豆石混凝土,其結果是使建筑樓板上的荷載增大,為了安全起見,規定本規程只適用于新建工業和民用建筑。改、擴建項目可參照執行,但為確保原有建筑的安全,應對建筑荷載能力進行校核。
    近年來,一些新型的地面輻射供暖形式在我國不斷出現并為業內所關注:如預制板型低溫熱水地面輻射供暖系統,該系統由多個一體化采暖板、填充板和配管在現場裝配而成,一體化采暖板均在工廠預制,施工時按鋪設面積的大小組合裝配,直接鋪設在平整的樓板上即可,該工藝方法在日本長期應用,比較普及和成熟;還有用發泡水泥預制板的形式,該方法對于安裝固定加熱管比較簡便,地面平整也較好,這種形式在韓國應用比較多。此外,電熱地面輻射供暖的新形式也很多,如電熱席和電熱地板等多種類型。這些新型地面輻射供暖形式,近年來在我國都有了應用實例,但由于目前積累經驗和實例還不夠充分,未能包含在本規程之內。
    1.0.3 本規程為地面輻射供暖工程的專業性全國通用技術規程。根據國家主管部門有關編制和修訂工程建設標準、規范等的統一規定,為了精簡規程內容,凡其它全國性標準、規范等已有明確規定的內容,除確有必要者以外,本規程均不再另設條文。本條文的目的是強調在執行本規程的同時,還應注意貫徹執行相關標準、規范等的有關規定。
    設 計
    3.1 一般規定
    3.1.1 保持較低的供水溫度和供回水溫差,有利于延長塑料加熱管的使用壽命;有利于提高室內的熱舒適感;有利于保持較大的熱媒流速,方便排除管內空氣;有利于保證地面溫度的均勻。
    3.1.2 限制地表面的平均溫度,主要是出于滿足舒適要求的考慮。具體數值引自《采暖通風與空氣調節設計規范》GB50019;根據歐洲相關標準BSEN1264,浴室及游泳池的地表面溫度為30~33℃,最高限值33℃。
    3.1.3 系統工作壓力的高低,直接影響到塑料加熱管的管壁厚度、使用壽命、耐熱性能、價格等一系列因素,所以不宜定得太高?!恫膳L與空氣調節設計規范》GB50019 第4.3.9 條規定:“建筑物的熱水供暖系統高度超過50m 時,宜豎向分區設置”。作出這條規定的主要目的是為了減小系統中散熱設備和配件所承受的壓力,保證系統安全運行。低溫熱水地面輻射供暖系統也屬于熱水供暖范疇,理應遵循這一規定。
    該規范的第4.4.9 條規定:“低溫熱水地板輻射采暖系統的工作壓力不宜大于0.8MPa;當超過上述壓力時,應采取相應的措施”。本條規定只是轉引而已。
    3.1.4 本條規定強調了低溫熱水地面輻射供暖系統的熱媒參數與熱源系統相匹配的必要性,同時為了滿足低溫熱水地面輻射供暖系統運行與調節的需要,提出了設置相應控制裝置的要求。
    3.1.5 為了規范設計圖紙,本條對地面輻射供暖工程施工圖的設汁深度、圖面表達內容與要求等,作出了具體的規定,以保證最終效果,職責分明。
    3.1.6 規定發熱電纜線功率不超過20 W/m,是為了保證發熱電纜在本規程的常規做法環境下,其外護套表面溫度不超過65℃,以保證其使用壽命;有利于保證地面溫度均勻且不超出最高溫度限值。
    3.2 地面構造
    3.2.2 本條根據目前國內外低溫熱水地面輻射供暖系統的現狀,推薦了一種基本的地面構造形式。隨著地面供暖技術的發展,一些新型模式不斷出現。本條推薦的構造形式為目前普遍采用的基本形式。地面構造示意圖如圖1、圖2 所示。

     


    圖1 樓層地面構造示意圖

    圖2 與土壤相鄰的地面構造示意圖


    3.2.3 面層熱阻的大小,直接影響到地面的散熱量。實測證明,在相同供熱條件和地板構造的情況下,在同一個房間里,以熱阻為0.02 ㎡?K/W 左右的花崗巖、大理石、陶瓷磚等作面層的地面散熱量,比以熱阻為0.10㎡?K/W 左右的木地板時要高30~60%;比0.15 ㎡?K/W 左右的地毯時要高60~90%。由此可見,面層材料對地面散熱量的巨大影響。為了節省能耗和運行費用,因此要求采用地面輻射供暖方式時,應盡量選用熱阻小于0.05 ㎡?K/W 的材料作面層。
    3.2.4 采用帶龍骨的架空木地板作為地面時,由于增加了龍骨的高度(約40~60mm),如果再做混凝土填充層,必然會與采用非架空木地板的地面之間形成高差,這是不合適的。加熱管敷設在龍骨之間絕熱板上,有利于保護加熱管,避免固定龍骨時損壞加熱管。
    低溫熱水輻射供暖系統中,如果局部熱阻很大,熱量不能充分散出,會造成回水溫度升高,還不會成為安全隱患,而發熱電纜的線功率基本恒定,熱量不能散出就會導致局部溫度上升,成為安全的隱患。因此,在采用帶龍骨的架空木地板作為地面或者地面有較大面積的遮擋時,需要對發熱電纜有更加嚴格的、安全的規定。按照國內外的很多工程安裝經驗,對架空木地板要求采用線功率10W/m 的發熱電纜。
    3.2.5 為了減少無效熱損失和相鄰用戶之間的傳熱量,本條給出了絕熱層的最小厚度,當工程條件允許時,宜在此基礎上再增加10mm左右。聚苯乙烯泡沫塑料主要技術指標見本規程第4.2 節。
    3.2.6 對低溫地面輻射供暖來說,填充層的作用主要有二:一是保護加熱管或發熱電纜;二是使熱量能比較均衡地傳至地面,從而使地面的表面溫度趨于均勻。為了達到以上目的,要求填充層有一定的厚度。由于填充層的厚度,直接影響到室內的凈高、結構的荷載和建筑的初投資,所以不宜太厚。實驗和工程實踐一致證實,加熱管、發熱電纜上部有約30mm保護層時,基本上已能夠滿足以上要求??紤]到填充層上部還有30mm左右的水泥砂漿找平層,可以協同起到均衡溫度的作用,所以規定低溫熱水系統填充層厚度宜取50mm,發熱電纜填充層厚度宜取35mm。
    3.3 熱負荷的計算
    3.3.2 根據國內外資料和國內一些工程的實測,低溫熱水地面輻射供暖用于全面采暖時,在相同熱舒適條件下的室內溫度可比對流采暖時的室內溫度低2~3℃。故規定地面輻射供暖的耗熱量計算時,室內計算溫度取值可降低2℃,或將計算耗熱量乘以0.9~0.95 的修正系數(寒冷地區取0.9,嚴寒地區取0.95)。
    3.3.3 當地面輻射供暖用于局部采暖時,耗熱量還要乘以表3.3.3所規定的附加系數(局部采暖的面積與房間總面積的面積比大于75%時,按全面采暖耗熱量計算)。
    3.3.4 為適應外區較大熱負荷的需求,確保室溫均勻,對進深較大房間作此規定。例如:住宅內通戶門的大起居室,距外墻6m以內無圍護結構傳熱負荷,但有戶門開啟負荷,需分別加以計算。
    3.3.5 敷設加熱管或發熱電纜的地面,不存在通過地面向外的傳熱負荷,因此不應計算此部分圍護結構熱損失。
    3.3.6 高度附加率,是基于房間高度大于4m 時,由于豎向溫度梯度的影響導致上部空間及圍護結構的耗熱量增大而打的附加系數。對地面輻射供暖系統,地面溫度一般高于室內空氣溫度,因此供暖熱負荷計算時,可不考慮高度附加。
    3.3.7 間歇供暖與戶間傳熱的附加量,僅作為確定戶內供暖熱負荷的因素,不應統計在集中供暖系統的總負荷內或建筑總供電負荷內。
    3.4 地面散熱量的計算
    3.4.2 目前單位地面面積散熱量的計算方法主要有兩種,一種是ASHRAE 手冊(2000 年版)提供的計算方法,一種是歐洲普遍采用的經驗公式法。因前者計算原理清晰易懂,國內設計院多已采用,并已經過實際工程檢驗,認為可行,故本規程推薦采用此方法。附錄A 是來自此方法的計算結果,由北京建筑設計研究院提供。
    由于篇幅所限,附錄A 只列出兩種管材PE-X 管(導熱系數為0.38 W/(m.K))、PB 管(導熱系數為0.23 W/(m.K))的計算數據,其它管材可根據其實際導熱系數參照選用。
    鋁塑復合管和PE-RT 管可參照附錄A.1:PE-X 管單位地面面積的散熱量和向下傳熱損失選用;PP-R 管可參照附錄A.2:PB 管單位地面面積的散熱量和向下傳熱損失選用。若絕熱層采用其它絕熱材料,如發泡水泥,可根據其熱阻值參照選用。
    3.4.5 校核地表面平均溫度的近似公式,是由ASHRAE 手冊(2000 年版)提供的計算方法獲得的計算數據,經回歸得到的。
    3.4.7 家具和其他地面覆蓋物的遮擋對地面散熱量影響很大,應予以考慮。地面遮擋因素隨機性很大,情況非常復雜,設計人可根據具體情況附加一定的安全系數。
    3.5 低溫熱水系統的加熱管系統設計
    3.5.1 住宅建筑中按戶劃分系統,可以方便的實現按戶熱計量,各主要房間分環路布置加熱管,則便于實現分室控制溫度。
    3.5.2 限制每個環路的加熱管長度不超過120m 和要求各環路加熱管的長度接近相等,都是為了有利于水力平衡。對可自動控溫的系統,各環路管長可有較大差異。對于壁掛爐系統,加熱管長度應根據壁掛爐循環水泵的揚程經計算確定。
    3.5.3 加熱管采取不同布置形式時,導致的地面溫度分布是不同的。布管時,應本著保證地面溫度均勻的原則進行,宜將高溫管段優先布置于外窗、外墻側,使室內溫度分布盡可能均勻。加熱管的布置形式很多,通常有以下幾種形式,如圖3~圖7 所示。

     


    3 回折型布置圖


    4 平行型布置圖


    5 雙平行型布置


    帶有邊界和內部地帶的回折型布置圖 6


    帶有邊界和內部地帶的平行型布置圖 7


    3.5.4 地面散熱量的計算,都是建立在加熱管間距均勻布置的基礎上的。實際上房間的熱損失,主要發生在與室外空氣鄰接的部位,如外墻、外窗、外門等處。為了使室內溫度分布盡可能均勻,在鄰近這些部位的區域如靠近外窗、外墻處,管間距可以適當的縮小,而在其它區域則可以將管間距適當的放大。不過為了使地面溫度分布不會有過大的差異,最大間距不宜超過300mm。
    3.5.6 加熱管的敷設是無坡度的。根據《采暖通風與空氣調節設計規范》GB50019 第4.4.8 條的規定,熱水管道無坡度敷設時,管內的水流速度不得小于0.25m/s。因此本條據此作出限制,其目的是使水流能把空氣裹攜帶走,不讓它浮升積聚。
    3.6 低溫熱水系統的分水器、集水器及附件設計
    3.6.1 分水器、集水器總進、出水管內徑一般不小于25mm,當所帶加熱管為8 個環路時,管內熱媒流速可以保持不超過最大允許流速0.8m/s。同時,分水器、集水器環路過多,將導致分水器、集水器處管道過于密集。
    3.6.2 供水管上設置兩個閥門,主要是供清洗過濾器和更換或維修熱計量裝置時關閉用;設置過濾器是為了防止雜質堵塞流量計和加熱管。熱計量裝置前的閥門和過濾器,也可采用過濾球閥(過濾器與球閥組合于一體)替代。
    根據《采暖通風與空氣調節設計規范》GB50019 第4.9.1 條“新建住宅熱水集中供暖系統,應設置分戶熱計量和室溫控制裝置”的規定,本條相應的作了安裝熱計量裝置的要求。當供暖系統用于非住宅類建筑時,是否安裝熱計量裝置,可按工程具體情況確定。
    3.6.3 旁通管的連接位置,應在總進水管的始端(閥門之前)和總出水管的末端(閥門之后)之間,保證對供暖管路系統沖洗時水不流進加熱管。
    3.6.4 排氣閥是用以排除加熱管內的不凝性氣體。
    3.7 低溫熱水系統的加熱管水力計算
    3.7.2~3.7.4 該計算方法引自俄羅斯1999 年出版的設計與施工規范《采用鋁塑復合管供暖系統的設計與安裝》。該方法是專門針對鋁塑復合管制定的,其它塑料管材可參照計算。計算公式中引入了水的流動相似系數,使比摩阻公式適合于整個湍流區,同時管道內徑計算公式考慮了管徑與壁厚的制造公差,因此水力計算結果更加符合實際。
    該方法還給出了鋁塑復合管常用的局部阻力系數,為局部阻力的計算提供了條件。
    3.7.5 系統阻力的限制,是為了集中供暖系統的水力平衡,也與分戶獨立熱源設備相匹配。每套分水器、集水器環路的總壓力損失指自分水器總進水管閥門前起,至集水器總出水管閥門后止,這一區間的總壓力損失,其中不包括熱量表和恒溫閥的局部阻力。
    3.8 低溫熱水系統的熱計量和室溫控制
    3.8.1 與《采暖通風與空氣調節設計規范》GB50019 第4.9.1 條規定一致。
    3.8.2 分戶熱計量要求與《采暖通風與空氣調節設計規范》GB50019 第4.9.5 條規定一致。
    3.8.3 室溫可控是分戶熱計量的基礎,本條針對這個要求,并結合我國的具體情況推薦了幾種經實踐證明為有效的控制方法。
    3.9 發熱電纜系統的設計
    3.9.2 當局部熱負荷較大時,應增加單位面積的地暖系統發熱功率,如果受地面溫度限制、電纜間距等原因,發熱電纜不能提供足夠供熱量時,應考慮增加其它型式的輔助供熱設備,如電采暖散熱器等。
    3.9.3 限定發熱電纜的間距是為了保證地面溫度的均勻性。
    3.9.4 發熱電纜的布置局限性較低溫熱水系統小,低溫熱水系統由于水溫隨行程而變化,需要盡可能將高溫段設在熱負荷較大的區域,而發熱電纜由于線功率比較恒定,不必考慮溫度差別的影響;同時發熱電纜有單導線和雙導線形式,單導線安裝時發熱電纜必須形成回路,兩端與電源連接,雙導線產品本身自成回路,只需一端連接電源,布置更加靈活。因此,本規程第3.5.3 條說明中的布置形式只作參考。
    3.9.5 發熱電纜地面輻射供暖系統,宜充分發揮電熱容易控制的特點,各室單獨控制室溫,根據不同的需要提供不同的室內溫度,提高舒適度;分室控溫可以實現按需供熱以節能,同時有利于溫控器的布置、選型、安全和檢修等。
    3.9.6~3.9.7 當溫控器所控制的發熱電纜功率較大,超出溫控器額定電流時,可以將溫控器與接觸器結合,以滿足安全要求;溫控器也可以與其他控制設備結合,實現諸如遠程控制等其他功能。同時,應根據現場環境要求、使用要求等方面的具體要求,選擇溫控器的控溫形式。
    3.9.10 在地面家具遮擋覆蓋的情況下,地面供暖系統的熱量難以通過地表面充分散熱,就會造成局部升溫。對低溫熱水系統,回水溫度就會升高,盡管減少了室內供暖熱量,尚不至于有安全隱患;而對發熱電纜系統,發熱電纜仍然持續加熱,就會產生安全隱患。因此,應考慮盡量避免覆蓋遮擋。在固定家具下不應布置發熱電纜,同時應盡量選用有腿的家具,以減少局部熱阻。
    3.10 發熱電纜系統的電氣設計
    3.10.2 有一些地區實行峰谷電價,有些地區對冬季供暖電耗有優惠政策,在這些情況下,電供暖系統宜單獨設置,以適應優惠政策。
    材 料
    4.1 一般規定
    4.1.1 施工性能不僅指安裝施工的難易,主要應考慮在安裝時或安裝后材料可能產生的變化及對工程可能產生的潛在影響等。如加熱管受到彎曲,在彎曲部位會產生較大內應力,對其使用壽命產生影響。
    4.2 絕熱材料
    4.2.2 聚苯乙烯泡沫塑料板材的質量應符合《絕熱用模塑聚苯乙烯泡沫塑料》GB/T10801.1 中的規定,本條規定的技術指標摘自其中。
    4.2.3 采用發泡水泥作為保溫材料,保溫厚度一般為40-50mm。發泡水泥導熱系數約為0.09W/m.k。該材料具有承載能力強、施工簡便、機械化程度高的特點,適合大面積地面供暖系統。
    4.3 低溫熱水系統的材料
    4.3.3 塑料管材的基本荷載形式是內液壓,而它的蠕變特性是與強度(管內壁承受的最大應力,即環應力)、時間(使用壽命)和工作溫度密切相關的。在一定的工作溫度下,隨著要求強度的增大,管材的使用壽命將縮短。在一定的要求強度下,隨著管材工作溫度的升高,管材的使用壽命也將縮短。所以,在設計低溫熱水地面輻射供暖系統時,熱媒溫度和系統工作壓力不應定得過高。
    總的說來,所有根據國家有關標準生產的合格產品,都可以放心的用作加熱管。如交聯聚乙烯(PE-X)管、聚丁烯(PB)管、鋁塑復合管(XPAP)和耐高溫聚乙烯(PE-RT)管、無規共聚聚丙烯(PP-R)管和嵌段共聚聚丙烯(PP-B)管等,不但都有完善的測試數據和質量控制標準,而且都已經過實踐考驗。設計選材時,應結合工程的具體情況確定。對許用設計環應力過小的管材,如嵌段共聚聚丙烯(PP-B)管,設計時應正確選擇使用。同時隨著人們環保意識的增強,在選擇管材時,應重視管材是否能回收利用的問題,以防止對環境造成新的污染。
    銅管也是一種適用于低溫熱水地面輻射供暖系統的加熱管材,其具有導熱系數高、阻氧性能好、易于彎曲且符合綠色環保要求等特點,正逐漸為人們所接受。
    4.3.4 加熱管應符合國家標準:
    PE-X 管采用《冷熱水用交聯聚乙烯(PE-X)管道系統》GB/T18992;
    PB 管采用《冷熱水用聚丁烯(PB)管道系統》GB/T19473;
    PE-RT管采用《冷熱水用耐熱聚乙烯(PE-RT)管道系統》CJ/T-175;
    PP-R 管、PP-B 管采用《冷熱水用聚丙烯管道系統》GB/T-18742;
    鋁塑復合管采用《鋁塑復合壓力管》GB/T18997
    銅管采用《無縫銅水管和銅氣管》GB/T18033
    4.3.5 加熱管應由正規生產企業生產,產品應具有出廠必要標識。
    4.3.6 德國標準DIN4726 規定,40℃時內表面上氧氣透過率應小于0.1g/(m3.d),否則應采取防腐措施。為有效防止滲入氧而加速對系統的氧化腐蝕,因此作此規定。
    4.3.8 數據取自《冷熱水用交聯聚乙烯(PE-X)管道系統》GB/T-18992.2、《冷熱水用耐熱聚乙烯(PE-RT)管道系統》CJ/T 175、《冷熱水用聚丁烯(PB)管道系統》GB/T19473、《冷熱水用聚丙烯管道系統》GB/T18742.2、《鋁塑復合壓力管》GB/T 18997。
    4.4 發熱電纜系統的材料
    4.4.1 強制屏蔽接地是為了保證人身安全,防止人體觸電和受到較強的電磁輻射。
    4.4.2 發熱電纜作為系統的重要組成部分,是決定該系統安全、舒適和使用壽命的關鍵,從系統舒適和安全角度考慮,應采用低溫發熱電纜作為加熱元件。通常的電纜外表面溫度限定低于65℃,發熱量的大小就取決于電纜外徑(決定了外表面積大?。┝?,而電纜的線功率限定低于20W/m,其外徑就應近似為6mm;
    此外,電纜外徑還與產品材料、性能和工藝相關。從目前的應用情況看,國產和進口發熱電纜外徑均不小于6mm,因此本規程對電纜外徑建議不小于6mm。
    4.4.4~4.4.5 發熱電纜的冷線和熱線接頭為其薄弱環節,應由專用設備和工藝方法加工,嚴格控制質量,不應在現場簡單連接,以保證其連接的安全性能、機械性能和使用壽命達到要求。發熱電纜的檢測應為冷熱線以及接頭為一體檢測,還應對接頭位置設明顯標志,予以特別注意。發熱電纜的標志包括商標和電纜型號。
    4.4.6 目前國內還沒有針對地面輻射供暖系統中使用的發熱電纜生產的標準,市場上的發熱電纜多數為國外進口產品,也有引進技術國產化的電纜,均以IEC800《額定電壓300/500V 生活設施加熱和防結冰用加熱電纜》作為檢驗標準,具體內容見附錄E。附錄E中列出的內容和技術指標比較IEC800 原文已經是簡化了。檢測電纜的機構必須具有國家認可的檢驗資質。
    4.4.7 溫控器是該系統另一個重要組成部分,其作用是調節溫度,控制系統工作狀態。按照感溫對象的不同分為室溫型、地溫型和雙溫型溫控器,使用者可根據工程具體情況選用溫控器。溫控器一般由控溫和測溫兩個系統組成產品,由生產廠家整體供應。其相關標準為國家現行標準《溫度指示控制儀》JJG874 和《家用和類似用途自動控制器 溫度敏感控制器的特殊要求》GB14536?10。
    施 工
    5.1 一般規定
    5.1.1 本條規定了施工前應具備的必要條件,如不具備這些條件,不能進行施工。
    5.1.3 本條主要對加熱管和發熱電纜的運輸、裝卸和儲存的條件作了原則性的規定,目的是防止在這些過程中損壞材料。
    5.1.4作為加熱管,無論PE-X、PB、PP-R、PP-B 或PE-RT,它們雖然都具有較強的耐酸堿腐蝕的能力,但是,油漆、瀝青和化學溶劑對它們有較強的破壞作用,這種情況對于發熱電纜同樣存在,因此必須嚴格防止接觸這類物質。
    5.1.5 塑料管和發熱電纜的普遍特性是隨著環境溫度的降低,其韌性變差,抗彎曲性能變壞,因此很難施工。同時,當環境溫度低于5℃時,混凝土填充層的施工和養護質量也較難保證。當然,這也可以通過采取某些技術措施來確?;炷恋氖┕べ|量,但工程造價將相應增加,非萬不得以不宜這么做。
    5.1.6 目的在于保護發熱電纜,以免搭接時溫度過高損壞電纜。
    5.1.8 目的在于保護加熱管和電纜,免遭損壞。
    5.2 絕熱層的鋪設
    5.2.1 地面平整與否,會影響到絕熱層的鋪設質量和加熱管的安裝質量。如不平整度較大,應由建筑公司用適當辦法(不能用松散的砂粒)找平。
    5.2.2 本條規定了絕熱層的鋪設要求。絕熱層接合應嚴密,多層絕熱層要錯縫鋪放。
    5.3 低溫熱水系統加熱管的安裝
    5.3.1 本條貫徹了必須按照設計圖紙施工的基本要求,旨在確保低溫熱水地面輻射供暖系統的供暖效果。
    管間距誤差不大于10mm,實踐證明是可以做到的。為了避免安裝好后,一旦發現問題而引起返工,要求安裝前作詳細檢查。
    5.3.2 加熱管切割不好,斷口不平整,與管軸線不垂直,都會影響管道的連接質量,造成滲漏或通過截面減小,為此,提出了規范化的操作要求和質量標準。
    5.3.3 加熱管應做到自然釋放,不允許出現扭曲現象,以免管道處于非正常受力狀態,影響加熱管的使用壽命。加熱管安裝的環境溫度與彎曲半徑有關,彎曲半徑過小,會造成機械損傷和彎處“死折”,本規定參照國外標準及工程實踐經驗。同時,在彎曲過程中,若對圓弧頂部不加力予以限制,則極易出現“死折”,即無弧度的折彎。
    5.3.4 根據我國現狀,即使熱熔連接也會因質量問題而漏水,為了消除隱患特作此規定。同時與《建筑給水排水及采暖工程施工質量驗收規范》GB50242 相一致。
    5.3.6 加熱管固定,目的是使它定位,防止在澆搗填充層時產生位移。加熱管固定裝置有多種方法,本條所列的四種方法,為目前工程中比較典型的通常做法,并在大量的工程實踐中證明都是可行的。
    采用第一種方法時,因為聚苯乙烯泡沫塑料板表面強度較差,對固定卡子抓力不足,為了有效固定加熱管,施工時絕熱板材上方(加熱管線下方)可做如下處理:
    (1)粘接一層紡粘法非織造布/PE 鍍鋁膜層,其總重量大于55g/m2,其中非織造布重量不小于35g/m2 ,PET鍍鋁膜表面印刷50×50 坐標。
    (2)粘接一層重量大于40g/m2紡粘法非織造布,布面印刷明顯的50×50mm坐標。
    (3)鋪設一層PE 或PP 擠出塑料網或雙向拉伸土工格柵。擠出網或土工格柵網眼不得小于25mm×25mm,結點厚度不大于6 mm。
    (4)鋪設一層0.8mm,網眼150mm×150mm的氬弧焊鋼絲網。
    5.3.7 本條對固定點間距作了規定。固定點間距過大,加熱管反彈較大;不易定形的管材,其固定點的間距應根據需要加密。
    5.3.8 在分水器、集水器附近往往匯集較多的管道,其他如門洞、走道等部位,有時也會有較多加熱管通過,由于管道過多,容易形成局部地面溫度過高,設置套管后,隨著熱阻的增大,地面溫度將相應降低。
    一般采用聚氯乙烯或高密度聚乙烯波紋套管,為防止地面龜裂,管道密集處應采用0.5~1.0cm 豆石混凝土澆筑,確保澆筑密實。
    5.3.9 為了保護加熱管,露明部分管道通常應加套聚氯乙烯(PVC)塑料管。
    5.3.10 PP(含PP-R、PP-B)樹脂對銅離子非常敏感,銅離子會使PP 的降解(老化)速度成百倍的增加,溫度越高,越為嚴重,因此做此規定。
    5.3.11 本條提出加熱管穿越伸縮縫時,必須設置一定長度的柔性套管。這項措施是確保加熱管在填充層內發生熱脹冷縮變化時的自由度。
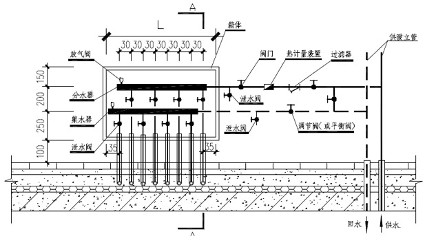
    5.3.12 分水器、集水器在開始鋪設加熱管之前安裝的目的是保證柔性加熱管精確轉向和通入分水器、集水器內。分水器、集水器安裝示意圖如圖8所示。
     

    分、集水器正視圖


    A-A剖面
    圖 8分、集水器安裝示意圖


    5.3.13 伸縮縫是低溫熱水地面輻射供暖工程設計中非常重要的部分?;炷撂畛鋵釉O置伸縮縫,是為了防止地面熱脹冷縮而被破壞?;炷恋木€膨脹系數為10×10-6m/(m?℃)左右,間距為6m時,其膨脹量約為2.7mm,考慮施工方便,規定伸縮縫寬度不宜小于8mm;與內外墻、柱及過門等交接處設置的伸縮縫,除有補償填充層伸縮外,還起到保溫作用。采用地面輻射供暖方式時,與地面鄰接處的墻內表面溫度會升高,為了減少無效熱損失和相鄰用戶之間的傳熱量,同時考慮施工方便,規定與內外墻、柱及過門等交接處伸縮縫寬度不應小于10mm。
    5.4 發熱電纜系統的安裝
    5.4.2 一般在發熱電纜出廠時,冷線熱線及其接頭應該已加工完成,每根電纜的長度和功率都應是確定的,電纜內可能是雙導線自成回路,也可能是單導線需要在施工中連接成回路;冷線與熱線也是在制造中連接好的,按照設計選型現場安裝,不允許現場裁減和拼接,現場裁減或拼接不但不能調節發熱功率,而且會造成電纜損壞,通電后會造成嚴重后果。如在竣工驗收后,意外情況下出現電纜破損,必須由電纜廠家用專業設備和特殊方法來處理,以減少接頭處存在的安全隱患。
    5.4.6~5.4.7 發熱電纜不同于熱水加熱管,熱水在加熱管中處于流動狀態,如果局部熱阻較大,只能導致該處不能充分散熱,導致該處熱水的溫差較??;而發熱電纜線功率基本恒定,表面均勻散熱,如果被壓入絕熱材料中,熱阻很大,仍然恒定發熱就會導致局部升溫過高,影響電纜的壽命。采用鋼絲網或金屬固定帶既能夠防止電纜壓入絕熱材料,又有防裂和均熱的作用。
    5.4.8 目的是防止熱線在套管內發熱,影響壽命和安全性能。
    5.4.9 目的是防止熱線在地面以上發熱,形成安全隱患,同時,電纜出地面后就難以保證間距,因此熱線及其接頭都應在填充層里,不能設在地面之上。
    5.4.11 地溫感溫探頭在安裝前,應對探頭進行外觀檢測,然后先鋪設φ16 的預埋管,并用塑料捆扎繩固定住,再將感溫探頭設在預埋管里;最后將預埋管管道末端封堵。
    5.5 填充層施工
    5.5.1 對填充層施工的時機作了明確規定,即未通過隱蔽工程驗收之前,不得施工。
    5.5.2 為了保證工程質量,從分工上明確規定了填充層應由土建承包單位負責施工, 同時對安裝單位的配合也作了具體規定。
    5.5.3 管內保持一定壓力,既可以防止加熱管因擠壓而變形,又可以及時發現管道的損壞。
    5.5.4~5.5.5 目的在于保護加熱管,避免人為的破壞。
    5.5.6 填充層不受干擾的凝固和硬化時間:一般不加特殊摻合料的混凝土填充層為21d。最早48h 以后才能踩踏。在此時間內,不得對加熱管或發熱電纜進行加熱及放置任何形式的荷載,以免造成填充層開裂。
    由于塑料管的熔點較低,多數都在150~180℃左右,很容易被電爐、噴燈等烤化,因此,施工中應對地面妥加保護。本條的這些要求,都是實踐中教訓的總結,必須引起足夠的重視并嚴格遵守。
    5.6 面層施工
    5.6.1 本條規定了地面輻射供暖宜采用的地面裝飾材料的種類,避免由于地面裝飾層材料選擇不當,造成一定的經濟損失。
    5.6.2 在實際工程中,出現過很多在施工面層時損壞加熱管的事故,而這些事故本來是完全可以避免的,因此在本條中對面層施工提出了一些具體的注意事項。
    5.6.3 木地板出現翹裂的現象較多,究其原因,大致有以下三種情況:
    第一種情況是地板本身質量不好,未經嚴格干燥處理(含水率應低于20%),致使含水率過高,經過使用后,隨著含水率的降低,木材收縮,產生裂紋。其實,這種地板,即使用在不是地面供暖的室內,也同樣會開裂。
    第二種情況是在填充層尚未完全干燥的情況下,過早的鋪貼木地板。由于木地板鋪貼后,混凝土中的水份仍在不斷蒸發,使本來比較干燥的木地板的含水率升高,從而膨脹鼓翹。
    第三種情況是在鋪貼木地板時,在地板與墻、柱等交接處未留伸縮縫,所以在地板受熱產生膨脹時,由于沒有補償膨脹位移的出路,從而產生翹鼓。
    5.6.4 干貼的目的是為了防止地面加熱時拉斷面層。
    5.7 衛生間施工
    5.7.1 衛生間設地面供暖會使人感到很舒適,但因擔心漏水問題,影響了地面供暖系統在衛生間的應用。為避免漏水發生,作本條規定。衛生間地面構造示意圖如圖9 所示。

     


    圖9 衛生間地面構造示意圖


    5.7.2 設止水墻目的是防止衛生間積水滲入絕熱層,并沿絕熱層滲入其他區域。
    檢驗、調試及驗收
    6.3 施工安裝質量驗收
    6.3.1 加熱管和發熱電纜是埋置在混凝土填充層內的,填充層施工完畢后,加熱管就再也看不見了,所以屬于隱蔽工程。對于隱蔽工程,必須在隱蔽之前進行檢驗,只有經檢驗合格后才允許隱蔽,為此,應進行中間驗收。
    6.3.2 本條具體規定了中間驗收必檢驗的項目。
    6.4 低溫熱水系統的水壓試驗
    6.4.1 首先關閉分水器、集水器上總進、出水管上的球閥,并開啟總進、出水管之間的旁通閥,對分水器、集水器以外主供回水管路系統進行沖洗;然后分別沖洗各加熱管環路。
    6.4.3~6.4.5 水壓試驗壓力和檢驗方法,引自《建筑給水排水及采暖工程施工質量驗收規范》GB50242。
    6.5 調試與試運行
    6.5.1 為了避免對系統造成損壞,在未經調試與試運行過程之前,應嚴格限制隨意啟動運行。
    6.5.2 調試與試運行的目的,是使系統的水力工況和熱力工況達到設計要求,為此,具備正常供暖和供電條件是進行調試的必要條件。若暫時不具備正常供暖和供電條件時,調試工作應推遲進行。
    6.5.5 系統通熱調試,是確保并進一步考核和檢驗工程設計與施工質量的一個重要環節,必須認真進行。試運行時,初次加熱的水溫應嚴格控制;同時,升溫過程一定要保持平穩和緩慢,確保建筑構件對溫度上升有一個逐步變化的適應過程。
    6.5.6 發熱電纜的功率控制基本上都是開關調節控制方式,即只要是在通電狀態下,電纜的發熱功率就基本恒定,實現全功率加熱,電纜實際發熱功率的調節是靠通電斷電的時間周期比例關系來實現的。因此,在實際應用中,電纜表面的溫度無法加以具體的控制;而且,比較熱水形式的地面輻射供暖系統形式,發熱電纜加熱時的應力變化和對填充層的影響較小。因此,本條對升溫速度不作具體規定,在初始通電加熱時應保持室溫盡量平緩地升高。
    6.5.8 輻射供暖時,由于有輻射傳熱和對流傳熱同時作用,所以既不能單純的以輻射強度來衡量,也不能簡單的以室內空氣的干球溫度作為考核的依據,為此本條規定必須用能同時反映輻射和對流綜合作用的黑球溫度作為評價和考核供熱效果的依據。
    附錄B 加熱管的選擇
    B.1.2 表B.1.2-1 引自《冷熱水系統用熱塑性塑料管材和管件》GB/T18991:表B.1.2-2 引自《冷熱水用交聯聚乙烯(PE-X)管道系統》GB/T18992.2、《冷熱水用耐熱聚乙烯(PE-RT)管道系統》CJ/T 175、《冷熱水用聚丁烯(PB)管道系統》GB/T19473、《冷熱水用聚丙烯管道系統》GB/T 18742.2。
    B.1.3 考慮到施工與使用過程中的不利因素,為安全起見,塑料管材壁厚應適當加厚。條文中的數值引自德國標準DIN 4726 關于熱水地面供暖用塑料管材的基本要求。表中數值引自《冷熱水用交聯聚乙烯(PE-X)管道系統》GB/T18992.2、《冷熱水用耐熱聚乙烯(PE-RT)管道系統》CJ/T 175、《冷熱水用聚丁烯(PB)管道系統》GB/T19473、《冷熱水用聚丙烯管道系統》GB/T 18742.2。
    B.2.1 鋁塑復合管是由聚乙烯材料和鋁材兩種楊氏模量相差很大的材料組成的多層管,在承受內壓時,厚度方向的管環應力分布是不等值的,因此不能用S 值來選用管材或確定管材的壁厚。內外塑料層和鋁管層的最小壁厚取決于管徑,壁厚和管徑為固定尺寸關系,只能根據長期工作溫度和允許工作壓力選擇不同類別的鋁塑管,無法考慮各種使用溫度的累計作用。鋁塑復合管根據鋁管焊接方法不同,分為搭接焊和對接焊兩種形式。
    B.2.2 表B.2.2-1 引自《鋁塑復合壓力管》GB/T 18997.1;B.2.2-1 引自《鋁塑復合壓力管》GB/T 18997.2。
    B.2.3 表B.2.2-3 引自《鋁塑復合壓力管》GB/T 18997.1、GB/T 18997.2。
    B.3.1 表B.3.1 引自《無縫銅水管和銅氣管》GB/T 18033。

     

    電地暖產品

    <tt id="wwww8"></tt>
  • <li id="wwww8"></li>
  • <li id="wwww8"></li>
  • <tt id="wwww8"></tt>
    <li id="wwww8"></li>
    <tt id="wwww8"></tt>
  • <tt id="wwww8"></tt>
    <li id="wwww8"><tt id="wwww8"></tt></li>
    天天做天天爱夜夜爽 扬中市| 长武县| 普洱| 朝阳区| 莆田市| 上林县| 嘉鱼县| 彩票| 喜德县| 淳安县| 正宁县| 泸水县| 多伦县| 洪湖市| 嵊州市| 同德县| 合川市| 白沙| 故城县| 莱阳市| 双鸭山市| 星座| 盖州市| 永丰县| 佛冈县| 元阳县| 若羌县| 神池县| 岳西县| 神农架林区| 甘肃省| 固安县| 武乡县| 昆明市| 苏尼特左旗| 英吉沙县| 霍林郭勒市| 松原市| 宁城县| 天台县| 开远市| http://444 http://444 http://444